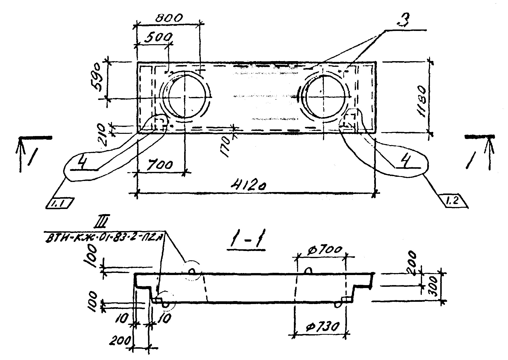
П 1А

Чертеж изделия:
Характеристики изделия:
ПараметрЗначение
Длина L4180 мм
Ширина В1180 мм
Высота Н300 мм
Вес2900 кг
СерияВТИ-КЖ-01-83
Норма погрузки на машину (20тн)7 шт
Вагонная норма погрузки-

Плита перекрытия П 1А является составной частью теплофикационной камеры. Данные плиты изготавливаются в соответствии с рабочими чертежами серии ВТИ-КЖ-01-83.