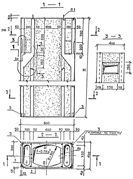
БВ 28-1

Чертеж изделия:
Характеристики изделия:
ПараметрЗначение
Длина L800 мм
Ширина В400 мм
Высота Н2780 мм
Вес1000 кг
СерияИИ 01-00
Норма погрузки на машину (20тн)20 шт
Вагонная норма погрузки-

Вентблоки БВ 28-1 изготавливается по рабочим чертежам альбома ИИ01-00, которые применяются при возведении жилых и общественных зданий, строящихся в обычных условиях.