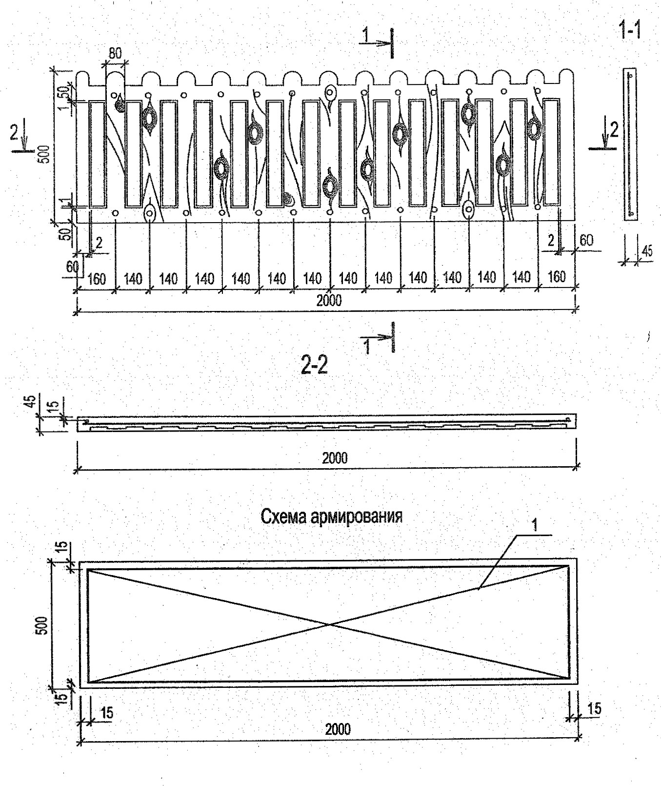
ПО 20.5.5-М-49
Характеристики изделия:
| Параметр | Значение |
|---|---|
| Длина L | 2000 мм |
| Ширина В | 45 мм |
| Высота Н | 500 мм |
| Вес | 57,2 кг |
| Серия | Б3.017.1-7.05 |
| Норма погрузки на машину (20тн) | 340 шт |
| Вагонная норма погрузки | - |
Цена:
Рассчитать стоимостьПанели ограждения железобетонные ПО 20.5.5-М-49 используются для ограждения территорий самого разного назначения. Изготовление заборов регламентируется серией Б3.017.1-7.05.
