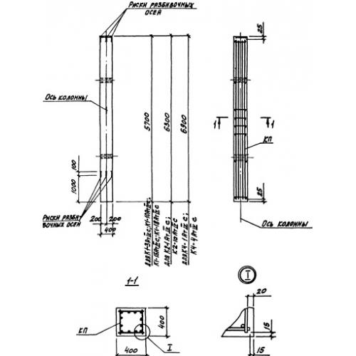
К 3

Чертеж изделия:
Характеристики изделия:
ПараметрЗначение
длина6900 мм
ширина400 мм
высота400 мм
масса2800 кг
нормативный документСерия 3.015-3/92

К 3  Колонны Серия 3.015-3/92.