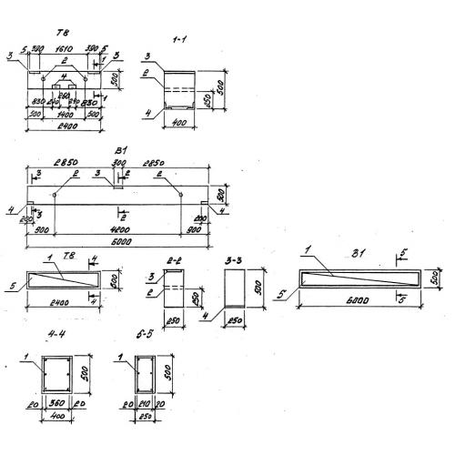
Т 8

Чертеж изделия:
Характеристики изделия:
ПараметрЗначение
длина2400 мм
ширина400 мм
высота500 мм
масса1200 кг
нормативный документСерия 3.015-16.94

Т 8  Траверсы Серия 3.015-16.94.