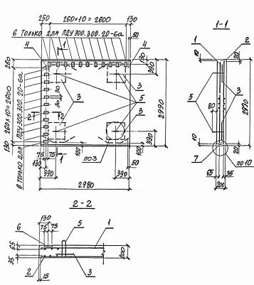
ПДУ 300.300.20 плиты днища
Характеристики изделия:
| Параметр | Значение |
|---|---|
| длина | 2500 мм |
| ширина | 2380 мм |
| высота | 200 мм |
| масса | 3000 кг |
| нормативный документ | Серия 3.006.1-8 |
Цена:
Рассчитать стоимостьПДУ 300.300.20 Плиты днища каналов угловые Серия 3.006.1-8.
| Параметр | Значение |
|---|---|
| длина | 2500 мм |
| ширина | 2380 мм |
| высота | 200 мм |
| масса | 3000 кг |
| нормативный документ | Серия 3.006.1-8 |
ПДУ 300.300.20 Плиты днища каналов угловые Серия 3.006.1-8.