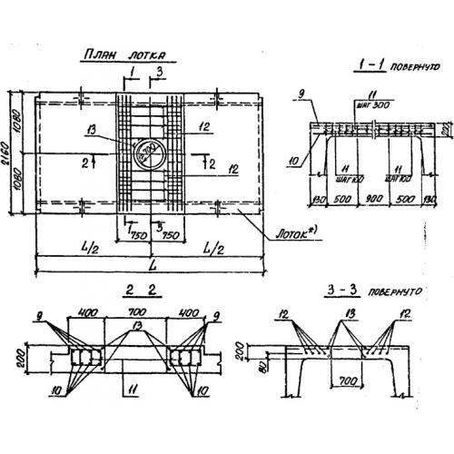
Ло 19

Чертеж изделия:
Характеристики изделия:
ПараметрЗначение
длина5970 мм
ширина2160 мм
высота740 мм
вес6570 кг
серия3.006-2

Ло 19 Лотки теплотрасс с отверстием  по серии 3.006-2.