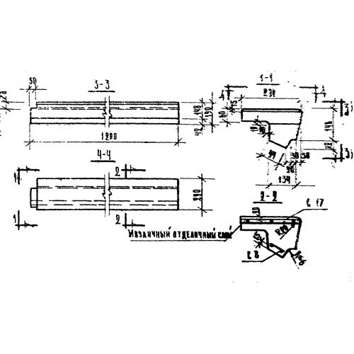
ЛС 12 к ступень верхняя фризовая с четвертью

Чертеж изделия:
Характеристики изделия:
ПараметрЗначение
длина1200 мм
ширина290 мм
высота190 мм
масса98 кг
нормативный документСерия 1.155-1

ЛС 12  Лестничные ступени Серия 1.155-1.