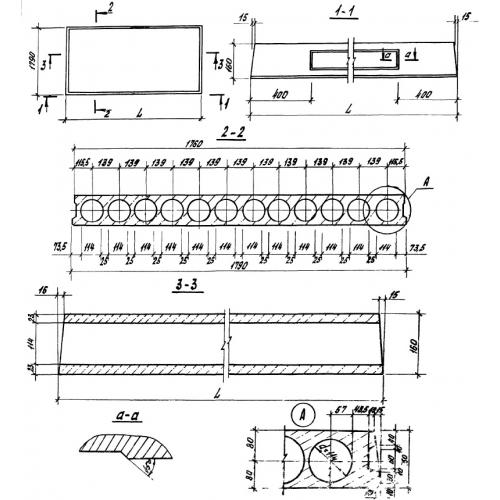
ПНО 60.18

Чертеж изделия:
Характеристики изделия:
ПараметрЗначение
длина5980 мм
ширина1790 мм
высота160 мм
вес2400 кг
серия1.141.1-39

ПНО 60.18 Плиты настила облегченные многопустотные по серии 1.141.1-39.