ПБ 27-4

Чертеж изделия:
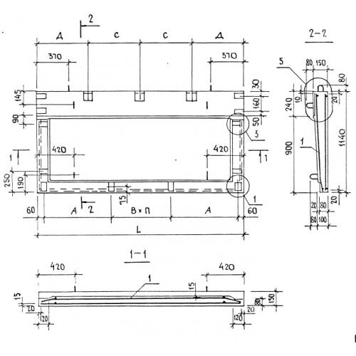
Характеристики изделия:
ПараметрЗначение
длина2690 мм
ширина1140 мм
высота150 мм
масса873 кг
нормативный документСерия 1.137-3

ПБ 27-4  Плиты балконные Серия 1.137-3.