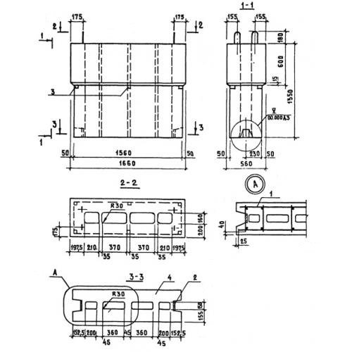
ВБК 16.14.6 блоки вентиляционные

Чертеж изделия:
Характеристики изделия:
ПараметрЗначение
длина1660 мм
ширина560 мм
высота1350 мм
масса1100 кг
нормативный документСерия 1.134.1-12

ВБК 16.14.6  Блоки вентиляционные  крышные Серия 1.134.1-12.