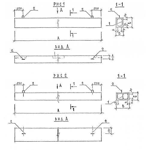
Б 55.18.30
Характеристики изделия:
| Параметр | Значение |
|---|---|
| длина | 5550 мм |
| ширина | 180 мм |
| высота | 300 мм |
| вес | 750 кг |
| серия | 1.126.1 КЛ-1 |
Цена:
Рассчитать стоимостьБ 55.18.30 Балки по серии 1.126.1 КЛ-1.
| Параметр | Значение |
|---|---|
| длина | 5550 мм |
| ширина | 180 мм |
| высота | 300 мм |
| вес | 750 кг |
| серия | 1.126.1 КЛ-1 |
Б 55.18.30 Балки по серии 1.126.1 КЛ-1.
