3КБО 36.48

Чертеж изделия:
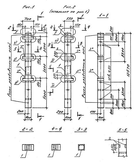
Характеристики изделия:
ПараметрЗначение
длина12570 мм
ширина400 мм
высота550 мм
масса5100 кг
нормативный документСерия 1.020.1-4

3КБО 36.48     Колонны  бесстыковые одноконсольные (Серия 1.020.1-4).

Маркировка включает высоту этажей (дм), диаметры угловых и промежуточных стержней арматуры (мм), марку бетона:

3КБО 36.48-3.22.00

3КБО 36.48-3.25.00

3КБО 36.48-3.28.00

3КБО 36.48-3.32.00

3КБО 36.48-4.32.00

3КБО 36.48-3.36.00

3КБО 36.48-3.40.00

3КБО 36.48-4.40.00

3КБО 36.48-5.40.00