2КНО 48.48

Чертеж изделия:
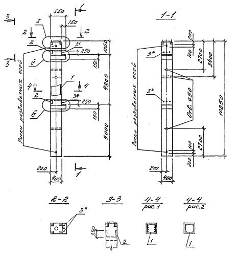
Характеристики изделия:
ПараметрЗначение
длина10850 мм
ширина400 мм
высота550 мм
масса4380 кг
нормативный документСерия 1.020.1-4

2КНО 48.48    Колонны одноконсольные для нижних этажей (Серия 1.020.1-4).

Маркировка с учетом диаметра угловых и промежуточных стержней арматуры, в мм. и марки бетона:

2КНО 48.48-3.20.00

2КНО 48.48-3.22.00

2КНО 48.48-3.25.00

2КНО 48.48-3.28.00

2КНО 48.48-3.32.00

2КНО 48.48-4.32.00

2КНО 48.48-3.36.00

2КНО 48.48-4.36.00

2КНО 48.48-5.36.00

2КНО 48.48-3.40.00

2КНО 48.48-4.40.00

2КНО 48.48-5.40.00

2КНО 48.48-5.32.28

2КНО 48.48-5.40.36