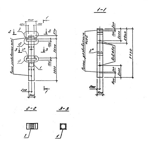
2КБД 36.36
Характеристики изделия:
| Параметр | Значение |
|---|---|
| длина | 7770 мм |
| ширина | 400 мм |
| высота | 700 мм |
| масса | 5200 кг |
| нормативный документ | Серия 1.020.1-4 |
Цена:
Рассчитать стоимость2КБД 36.36 Колонны бесстыковые двухконсольные (Серия 1.020.1-4).
Маркировка включает высоту этажей (дм), диаметры угловых и промежуточных стержней арматуры (мм), марку бетона:
2КБД 36.36-3.20.00
2КБД 36.36-3.22.00
2КБД 36.36-4.32.00
2КБД 36.36-4.36.00