1КСД 42.00

Чертеж изделия:
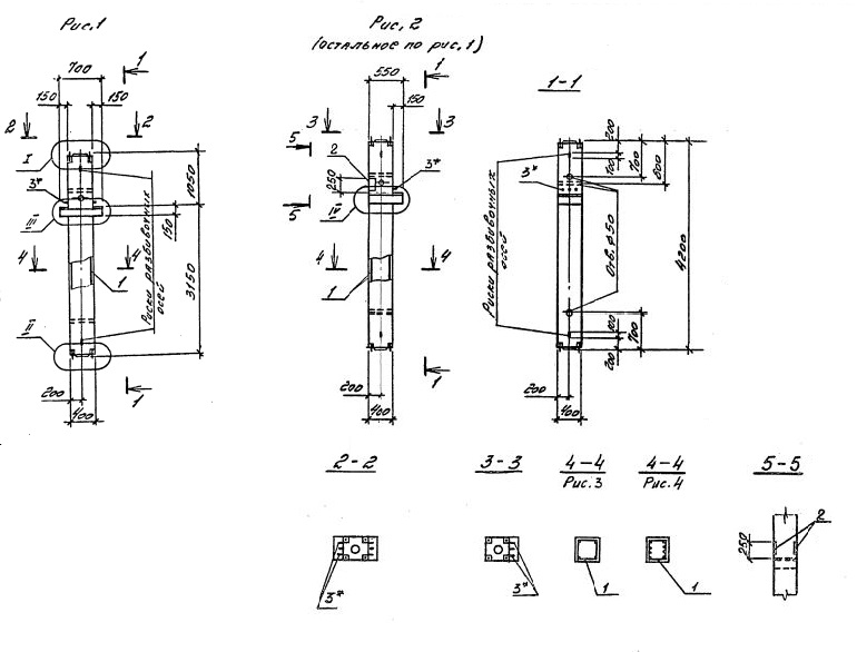
Характеристики изделия:
ПараметрЗначение
длина4200 мм
ширина400 мм
высота700 мм
масса1730 кг
нормативный документСерия 1.020.1-4

1КСД 42.00   Колонны двухконсольные для средних этажей (Серия 1.020.1-4).

Маркировка с учетом диаметра угловых стержней арматуры, в мм. и марки бетона:

1КСД 42.00-3.20.00

1КСД 42.00-3.22.00

1КСД 42.00-3.28.00

1КСД 42.00-3.36.00

1КСД 42.00-4.36.00

1КСД 42.00-5.36.00

1КСД 42.00-5.40.00