2Д 29.39

Чертеж изделия:
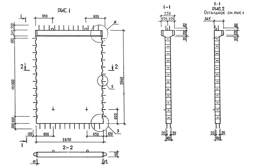
Характеристики изделия:
ПараметрЗначение
длина3090 мм
ширина345 мм
высота4340 мм
масса4700 кг
нормативный документСерия 1.020.1-3пв

2Д 29.39  Диафрагмы жесткости с двумя полками Серия 1.020.1-3пв.