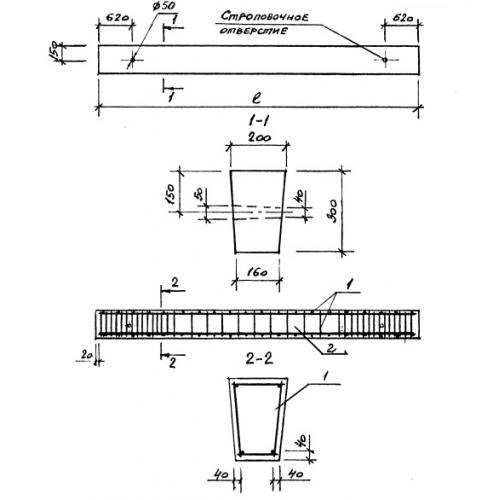
1БФ 30 балки фундаментные
Характеристики изделия:
| Параметр | Значение |
|---|---|
| длина | 2950 мм |
| ширина | 200 мм |
| высота | 200 мм |
| масса | 400 кг |
| нормативный документ | Серия 1.015.1-1.95 |
Цена:
Рассчитать стоимость1БФ 30 Балки фундаментные Серия 1.015.1-1.95.
| Параметр | Значение |
|---|---|
| длина | 2950 мм |
| ширина | 200 мм |
| высота | 200 мм |
| масса | 400 кг |
| нормативный документ | Серия 1.015.1-1.95 |
1БФ 30 Балки фундаментные Серия 1.015.1-1.95.
