С 8-90-10К5

Чертеж изделия:
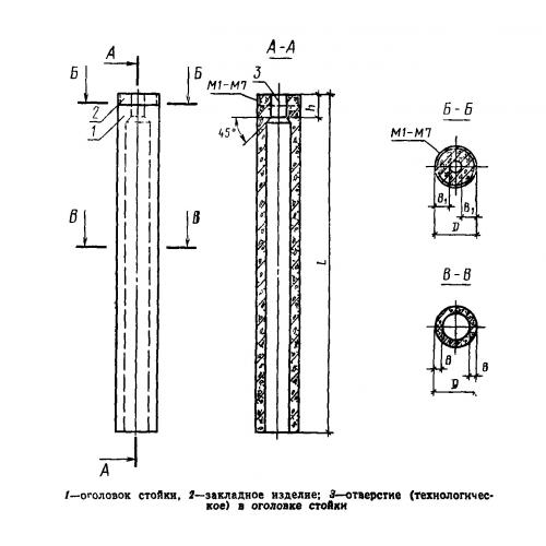
Характеристики изделия:
ПараметрЗначение
длина9000 мм
ширина800 мм
высота800 мм
масса5300 кг
нормативный документГОСТ 23444-79

С 8-90-10К5  Стойки железобетонные центрифугированные кольцевого сечения для производственных зданий и инженерных сооружений ГОСТ 23444-79.